ЗНО онлайн 2015 року з математики – додаткова сесія
Тестові завдання додаткової сесії ЗНО 2015 року з математики
ТЕМА: Геометрія. Планіметрія. Вертикальні кути. Трикутники. Теорема про суму кутів трикутника.
Це завдання перевіряє знання властивостей вертикальних кутів та вміння користуватися теоремою про суму кутів трикутника.
Катет
Сума кутів трикутника дорівнює
Відповідь: B.
Знайшли помилку? Пишіть на
ТЕМА: Алгебра і початки аналізу. Рівняння, нерівності та їх системи. Лінійні рівняння.
Це завдання перевіряє вміння розв’язувати лінійні рівняння: щоб вказати проміжок, якому належить корінь заданого лінійного рівняння, потрібно спочатку його знайти.
Розділимо обидві частини рівняння на
Перенесемо
Зазначимо, що розділити вираз на
Відповідь: Г.
Знайшли помилку? Пишіть на
ТЕМА: Алгебра і початки аналізу. Числа і вирази. Відношення та пропорції.
Це завдання перевіряє вміння розв’язувати найпростіші текстові задачі арифметичним способом.
Розв’язання завдання зводиться до знаходження чисел за відомим відношенням між ними. Оскільки перший фахівець отримав четверту частину всіх грошей, то він отримав
Відповідь: Г.
Знайшли помилку? Пишіть на
ТЕМА: Геометрія. Стереометрія. Прямі та площини у просторі.
Це завдання перевіряє знання аксіом та теорем стереометрії, означення перпендикулярних прямих у просторі.
Через пряму
Отже, через точку
Відповідь: Б.
Знайшли помилку? Пишіть на
ТЕМА: Алгебра і початки аналізу. Рівняння, нерівності та їх системи. Показникові нерівності.
Це завдання перевіряє вміння розв’язувати показникові нерівності.
Запишемо число
Оскільки основа
Відповідь: B.
Знайшли помилку? Пишіть на
ТЕМА: Алгебра і початки аналізу. Числа і вирази. Раціональні вирази та їхні перетворення.
Це завдання перевіряє знання формул скороченого множення, а саме різниці квадратів:
Скориставшись цією формулою, отримуємо:
Відповідь: B.
Знайшли помилку? Пишіть на
ТЕМА: Алгебра і початки аналізу. Числа і вирази. Тригонометричні вирази та їх перетворення.
Це завдання перевіряє знання формул зведення та властивостей функції
Спочатку спростимо заданий вираз. Оскільки
Оцінимо значення виразу
Отже, значення виразу
Відповідь: Г.
Знайшли помилку? Пишіть на
ТЕМА: Алгебра і початки аналізу. Функції. Монотонність функцій.
Це завдання перевіряє вміння знаходити проміжки монотонності – зростання або спадання елементарних функцій.
Зображений на рисунку ескіз графіка є параболою – графіком квадратичної функції. Вона спадає на проміжку
Отже, задана функція спадає на проміжку
Відповідь: Б.
Знайшли помилку? Пишіть на
ТЕМА: Алгебра і початки аналізу. Елементи комбінаторики, початки теорії ймовірностей та елементи статистики. Ймовірність випадкової події. Класичне означення ймовірності події.
Це завдання перевіряє вміння знаходити ймовірність події.
Всього у кубика
Кількість граней, пофарбованих у жовтий колір, дорівнює
Відповідь: Б.
Знайшли помилку? Пишіть на
ТЕМА: Геометрія. Планіметрія. Трикутники. Середня лінія трикутника. Вектори. Множення вектора на число.
Це завдання перевіряє знання означення і властивостей середньої лінії трикутника, а також уміння множити вектор на число.
Якщо точки
Вектори
Оскільки
Відповідь: Д.
Знайшли помилку? Пишіть на
ТЕМА: Алгебра і початки аналізу. Функції. Графік лінійної функції.
Це завдання перевіряє вміння встановлювати належність точки графіку функції, зокрема прямій.
Графік функції проходить через точку, якщо її координати задовольняють рівняння, яким задано функцію, тобто при підстановці в це рівняння обертають його на тотожність. Підставимо координати точки
А:
Б:
В:
Г:
Д:
Це завдання можна розв’язати, безпосередньо скориставшись властивістю лінійної функції. Оскільки точка
Відповідь: A.
Знайшли помилку? Пишіть на
ТЕМА: Геометрія. Стереометрія. Тіла і поверхні обертання. Об’єм конуса.
Це завдання перевіряє вміння знаходити об’єм конуса.
За умовою, діаметр основи конуса дорівнює
Підставимо отримані дані у формулу:
Відповідь: A.
Знайшли помилку? Пишіть на
ТЕМА: Алгебра і початки аналізу. Функції. Графік функції.
Це завдання перевіряє знання графіків елементарних функцій.
З рисунка видно, що шукана функція на проміжку
А:

Б:

В:

Г:

Отже, варіанти А – Г не задовольняють умову завдання.
Д:

Відповідь: Д.
Знайшли помилку? Пишіть на
ТЕМА: Алгебра і початки аналізу. Рівняння, нерівності та їх системи. Означення розв’язку системи рівнянь з двома змінними та методи їх розв’язування.
Це завдання перевіряє вміння розв’язувати системи рівнянь.
Помітимо, що ця система є лінійною відносно
Звівши подібні доданки, отримаємо:
Підставимо отримане значення
Отже,
Відповідь: A.
Знайшли помилку? Пишіть на
ТЕМА: Геометрія. Планіметрія. Коло. Довжина кола.
Це завдання перевіряє знання формули довжини кола.
Довжина кола
Оскільки за умовою задачі радіус більшого кола
Точка зовнішнього дотику двох кіл належить відрізку
Відповідь: Д.
Знайшли помилку? Пишіть на
ТЕМА: Алгебра і початки аналізу. Числа і вирази. Логарифмічні вирази та їх перетворення.
Це завдання перевіряє знання формул перетворень логарифмічних виразів:
Застосуємо ці формули:
Оскільки
Відповідь: Д.
Знайшли помилку? Пишіть на
ТЕМА: Алгебра і початки аналізу. Рівняння, нерівності та їх системи. Рівняння, що містять змінну під знаком модуля.
Це завдання перевіряє вміння розв’язувати дробово-раціональні рівняння зі змінною під знаком модуля.
Задане рівняння рівносильне рівнянню
Геометрично модуль числа – це відстань на координатній прямій від точки, що зображує це число, до початку відліку. На відстані
Відповідь: Д.
Знайшли помилку? Пишіть на
ТЕМА: Алгебра і початки аналізу. Рівняння, нерівності та їх системи. Метод інтервалів.
Це завдання перевіряє вміння розв’язувати раціональні нерівності.
Розв’яжемо нерівність методом інтервалів. Для цього перенесемо всі вирази у ліву частину нерівності:
Визначимо нулі функції
Позначимо на числовій осі
Отже,
Відповідь: A.
Знайшли помилку? Пишіть на
ТЕМА: Алгебра і початки аналізу. Функції. Похідні. Похідна від складеної функції.
Це завдання перевіряє вміння знаходити похідну від складеної функції.
За означенням, якщо
Тоді
Відповідь: Г.
Знайшли помилку? Пишіть на
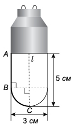
ТЕМА: Геометрія. Стереометрія. Тіла і поверхні обертання. Площа бічної поверхні циліндра. Площа сфери.
Це завдання є завданням з практичним змістом. Воно перевіряє вміння знаходити площу поверхні, утвореної обертанням відрізка та чверті кола навколо заданої осі, використовуючи формули площі бічної поверхні циліндра та площі сфери.
Площа активної поверхні світлодіодної лампи, зображеної на рисунку, є сумою площі бічної поверхні циліндра та площі півсфери. Площу бічної поверхні циліндра, утвореного обертанням відрізка
Площу півсфери, утвореної обертанням чверті кола
Тоді площа активної поверхні лампи дорівнює
Отже, найближчою до точної є відповідь
Відповідь: Г.
Знайшли помилку? Пишіть на
ТЕМА: Геометрія. Планіметрія. Чотирикутники. Прямокутник та його властивості. Площа прямокутника.
Це завдання перевіряє вміння знаходити площу та периметр прямокутника, застосовувати теорему Піфагора, знання співвідношень у прямокутному трикутнику.
Розглянемо кожне твердження:
1. Площа прямокутника дорівнює добутку двох його суміжних сторін. Цей добуток дорівнює
2. Периметр прямокутника дорівнює сумі довжин всіх його сторін. Ця сума дорівнює
3. Серед варіантів Б, Г та Д, що залишилися, варіант Д не може відповідати твердженню 3, адже кут між діагоналями квадрата не може дорівнювати
Розглянемо прямокутник
У рівносторонньому трикутнику всі сторони рівні, тому серед прямокутників, зображених на рисунках Б та Г, визначаємо той, у якого половина діагоналі дорівнює стороні
Прямокутник
Оскільки
4. Діагональ квадрата зі стороною
звідси отримуємо
Відповідь: 1 – В, 2 – А, 3 – Б, 4 – Г.
Знайшли помилку? Пишіть на
ТЕМА: Алгебра і початки аналізу. Числа і вирази. Подільність чисел.
Це завдання перевіряє вміння знаходити дільники чисел, знання означень простого числа і числа, кратного іншому числу.
1. Серед наведених чисел квадратом натурального числа є число
2. Натуральне число, більше за одиницю, називається простим, якщо воно має лише два дільники: одиницю та саме число. Іншими словами, просте число ділиться націло лише на
3. Число
4. Число
Відповідь: 1 – Б, 2 – В, 3 – A, 4 – Д.
Знайшли помилку? Пишіть на
ТЕМА: Алгебра і початки аналізу. Функції. Основні властивості функцій: парність, періодичність, монотонність. Екстремум функції.
Це завдання перевіряє вміння встановлювати властивості числових функцій (степеневої, квадратичної та логарифмічної), заданих формулою, знаходити область визначення, значення функції в точці, використовувати перетворення графіків функцій, знання означення точки екстремуму функції.
1. Функція

Отже, 1 – Д.
2. Функція

Отже, 2 – В.
3. Функція

Отже, 3 – А.
4. Функція

Отже 4 – Б.
Відповідь: 1 – Д, 2 – B, 3 – А, 4 – Б.
Знайшли помилку? Пишіть на
ТЕМА: Геометрія. Стереометрія. Координати та вектори у просторі.
Це завдання перевіряє знання декартової системи координат у просторі, формули координат середини відрізка, вміння встановлювати належність точки координатній осі чи площині.
Розглянемо початки речень (1–4) та знайдемо твердження, які є правильними для наведених точок.
1. Точка
2. Якщо лише одна з трьох координат точки, заданої у просторі, дорівнює нулю, то така точка лежить у певній координатній площині i водночас не належить жодній з осей координат, що лежать у цій площині. Зокрема, якщо координати
3. Щоб знайти координати точки, що є серединною відрізка, потрібно обчислити півсуму відповідних координат точок, які є кінцями цього відрізка. Так, серединою відрізка
4. Залишилося підібрати варіант відповіді для початку речення 4. Помічаємо, що координати точки
Відповідь: 1 – Д, 2 – Б, 3 – B, 4 – Г.
Знайшли помилку? Пишіть на
ТЕМА: Алгебра і початки аналізу. Числа і вирази. Відношення та пропорції. Основні задачі на відсотки. Текстові задачі.
Це завдання перевіряє вміння розв’язувати задачі на відсоткові розрахунки, зокрема знаходити відсоток від числа.
1. Позначимо щомісячний платіж за телефон за
2. Сума
Відповідь: 1.
2.
Знайшли помилку? Пишіть на
ТЕМА: Геометрія. Планіметрія. Чотирикутники. Трапеція та її властивості. Середня лінія трапеції та її властивості. Співвідношення між сторонами і кутами прямокутного трикутника.
Це завдання перевіряє знання властивостей середньої лінії трапеції: середня лінія трапеції паралельна основам і дорівнює їх півсумі. Bміння визначати висоту трапеції як відповідний катет прямокутного трикутника.
1. Згідно з умовою
2. Опустимо з точки
У цьому трикутнику
і
Зазначимо, що якщо провести відрізок
Відповідь: 1.
2.
Знайшли помилку? Пишіть на
ТЕМА: Алгебра і початки аналізу. Функції. Числові послідовності. Формули суми
Це завдання перевіряє знання формули суми
Оскільки кількість настою кожного наступного дня на одне й те саме число менша за кількість настою, що приймав пацієнт попереднього дня, то щоденні кількості настою утворюють арифметичну прогресію, перший член якої
Сумарну кількість настою, що вип’є пацієнт за ці
Відповідь:
Знайшли помилку? Пишіть на
ТЕМА: Алгебра і початки аналізу. Рівняння, нерівності та їх системи. Логарифмічні рівняння.
Це завдання перевіряє вміння розв’язувати логарифмічне рівняння.
Виконавши перетворення:
Отже, задане рівняння рівносильне сукупності
Відповідь:
Знайшли помилку? Пишіть на
ТЕМА: Алгебра і початки аналізу. Числа і вирази. Формули скороченого множення.
Це завдання перевіряє вміння виконувати тотожні перетворення дробово-раціонального виразу, використовуючи формули скороченого множення, правила виконання дій з раціональними дробами, та знаходити числове значення виразу при заданих значеннях змінних.
Спочатку спростимо заданий вираз:
Тепер підставимо в отриманий вираз значення
Відповідь:
Знайшли помилку? Пишіть на
ТЕМА: Геометрія. Стереометрія. Многогранники, тіла і поверхні обертання. Комбінації геометричних тіл.
Це завдання перевіряє вміння розв’язувати задачі на комбінації геометричних тіл, зокрема обчислювати об’єм правильної чотирикутної піраміди за відомими радіусом вписаної кулі та кутом нахилу бічної грані до площини основи піраміди.
На рисунку зображено правильну чотирикутну піраміду

Щоб обчислити об’єм піраміди
З рівності прямокутних трикутників
У прямокутному трикутнику
Висоту
Ураховуючи співвідношення
Отже, шуканий об’єм піраміди
Відповідь:
Знайшли помилку? Пишіть на





